来源: 未知 时间:2024-10-28 02:00 作者:admin 浏览: ->手机浏览此文章
曾经有多辉煌,如今就有多凄凉!
在云波诡谲的资本市场上,卢志强和他的“泛海系”就像是一只若隐若现的巨兽,平日安静蛰居,低调潜行,然而一旦出手,必是风暴的中心。
他曾力压许家印,是中国前10富豪,被万达王健林尊称为“大哥”,柳传志、马云等都是其商界好友,却异常低调鲜有露面。
因此他也曾被形容为“中国资本市场深潜的一头巨鳄”、“大佬背后的神秘大佬”,并被称之为“八大民营金融家”之一。
可惜,如今的泛海巨轮早已债台高筑。不仅信托暴雷、基金逾期,更是到了拍卖股权、甩卖资产的困局。
刚刚,旗下唯一的酒店业务上市公司也退市重组了!
那么,这位常年占据山东首富之位的资本大鳄,是怎样坠落神坛的呢?

01
又一家酒店企业退市,背后资本系家族负债累累,大厦将倾。
10月22日,泛海酒店被撤回上市地位。泛海酒店公告称,泛海酒店、泛海集团及要约人The Sai Group Limited联合宣布对泛海国际及泛海酒店集团有限公司(以下简称“泛海酒店”)进行建议集团重组。
财报显示,泛海酒店2024财年营收为8.9亿港元,同比下降4%;股东应占亏损从2023年的2.13亿港元扩大至22.5亿港元,增长了956%;资产总值由2023年的92.82亿港元减少至79.12亿港元,下降了15%;资产净值也从30.06亿港元降至12.61亿港元,减少了58%;负债净额和资产负债比率分别轻微上升了3%和4%。
泛海酒店虽说不直接关联泛海集团的债务风波,但影响还是吹到了泛海酒店这边,“泛海系”的近况堪忧啊!
“泛海系”背后大佬是前山东首富卢志强,征战商场近40年,一手打造起总资产规模近三千亿的资本帝国,资产版图覆盖地产、能源、金融、战略投资及境外投资等领域。
更值得一提的是,卢志强曾参与民生银行的组建并担任过其副董事长,手中曾握有多家核心金融牌照,如今纷纷易主不说,还因“借钱不还”被民生银行告上法庭,泛海帝国分崩离析在即。
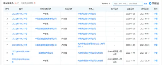
风险信息显示,以卢志强为法人的中国泛海控股集团有限公司(泛海控股)现存21条被执行人信息,被执行总金额超231亿元,此外还存在多个终本案件和股权冻结信息。

曾经,泛海控股也算是深交所的风云人物,但如今,它早已在风暴中退市。泛海酒店的退市,不仅仅是一家企业的上市终结,更像是为卢志强三十余年的商业历程画上句号,但“泛海系”的风波还未结束。
02
泛海踏浪履平川,我以我心荐河山。笑看潮起又潮落,故乡树木已参天。
卢志强何许人也?商界传奇、“泰山会”元老级成员,被称为大佬背后的大佬。27.55亿助力柳传志,联想混改成功;万达上市,王健林最感谢的人。2015年,卢志强以830亿身家跻身百富榜第八名,晋升山东首富。

很奇怪,这样的人物出身却并不高,甚至可以说是一般性的差,也经历了常挨饿、读书难的遭遇。
唯一离奇的是,在计划经济转轨、住房制度改革、地产上升周期、证券市场改革、国企改革等周期中,卢志强罕见地没有踏错任何一个节拍,最重要的还是他当初迈出了那关键的第一步——下海创业。
1985年,已经端上“铁饭碗”的卢志强也算是事业小成了,但他明显不这么想,居然不顾亲友反对,在同事的诧异目光下毅然辞去公职,成立了泛海集团!
不得不说,上世纪80年代,是一个需要魄力放弃“铁饭碗”的时代,也是一个机遇不断涌动的时代。
那一年,被称为“中国现代公司的元年”,海尔、联想、万科、四通、健力宝等纷纷创立。
公开资料显示,中国泛海控股有限公司(泛海控股)成立于1989年,是卢志强后面发展的旗舰企业,于1994年在深交所挂牌上市,是中国房地产行业最早的一批上市公司。
诗人顾城曾说:“人的生命里有一种能量,它使你不安宁。说它是欲望也行,幻想也行,妄想也行,总之它不可能停下来,它需要一个表达形式。”
对于卢志强来说,这种最佳的表达形式,也许就是在跌宕起伏的资本市场远洋航行。

03
泛海控股虽说是以房地产起家,但却痴迷于金融行业,早已算不上是严格意义上的房企。
泛海控股上市后,卢志强“变了心”,反而对金融行业注入了深厚的热情与巨大的投资,分别于1996年参与民生银行的组建、1998年担任民生银行副董事长,从而进军金融业。
之后卢志强在金融领域“攻城掠地”,先后成为民生银行、海通证券、民生保险、民生证券、民生典当的大股东,成功在银行、证券、保险等领域搭建起自己的金融王国。

这些持牌机构为泛海提供了充足的资金流,使得其在债券发行、信托发行、银行借贷以及股权质押等方面都能得到便利的条件。
在没有资金忧虑的情况下,卢志强开始装载“泛海系”巨轮,频繁购买股权扩张。
仅在2016年,泛海就花费了高达468亿元的资金进行股权投资。这其中,既有矿产公司,也有家居行业的领军企业红星美凯龙,还有知名酒类企业西凤酒。
不仅如此,泛海控股的国际化布局也日渐完善。在国外,泛海控股已经购买了不少项目,其在旧金山、纽约、夏威夷等地标建筑的建设计划正在稳步推进。此外,泛海还收购了印尼电厂。
2016年,泛海控股迎来它的高光时刻,当年公司实现营收246.71亿元,同比增长79.4%;归母净利润约31.09亿元,同比增长37.96%;公司总资产约1678.36亿元,同比增长37.15%;净资产约183.25亿元,同比增长45.04%。
卢志强的身价同时跟着水涨船高,连续两年进入《胡润百富榜》前十,身家力压许家印。
2015年,卢志强以830亿元财富还成为了山东首富。截至2020年,卢志强身家依然高达620亿元。
然而到了2023年,各大富豪榜中早已经找不到卢志强的名字了!
04
眼看他起高楼,眼看他宴宾客,眼看他楼塌了!
这位不知缺钱是何滋味的商界神秘大佬,近两年诉讼缠身。去年2月,卢志强被列入限制高消费名单。
彼时,民生银行北京分行就以金融借款合同纠纷为由,起诉泛海系企业及卢志强偿还贷款本金达70亿元。
今年以来,民生银行又两次对泛海集团提起诉讼,要求其偿还贷款本金及利息。目前,泛海集团持有的民生银行4.12%股权显示被冻结、质押等。而截至2023年末,民生银行与泛海集团贷款余额为187.26亿元。
就在9月18日,泛海控股发布公告称,公司收到判决书被要求在判决生效后十日内偿还民生银行借款本金及相应利息、罚息合计超3亿元。
区区3亿欠款难倒堂堂山东前首富,可见“泛海系”的窟窿有多大!
而这一切都是其当初奢侈的收购行为带来的高昂代价。
自2014年开始转型以来,泛海控股的负债总额迅速上升,在2018年底达到1836.7亿元。尽管当年泛海的资产规模超过了2000亿,但其资产负债率仍然保持在80%以上。
2020年6月,一起涉案金额达200亿元的假黄金案震动全国!
作为国内最大的黄金首饰制造商之一武汉金凰珠宝公司(金凰珠宝),曾通过“黄金质押+保单增信”的模式进行融资,后来金凰珠宝发生了违约,债主们随后将质押的黄金拿去检验,发现竟然是假黄金!
前不久,金凰珠宝83吨“金包铜”假黄金案,终于宣判!
金凰珠宝创始人贾志宏被判处无期徒刑,并处没收个人全部财产。彼时,贾志宏名下终本案件未履行金额仍超过150亿元。
最可悲的是,卢志强也因此损失惨重,其旗下民生信托被卷入这桩“假黄金案”,涉及金额超40亿元。这也成为泛海系商业帝国崩塌的导火索。
如今的“泛海系”早已是债台高筑,泛海酒店退市重组的结果也早已注定,从没踏错节拍的卢志强,也因一次失足迈入了命运转折点......
有人的地方,就有江湖;
有大佬的地方,就有江湖风云。
所谓时势造英雄,民营资本系族企业的兴衰就是一部中国民营经济发展史,他们中既有心系民生、慈善的财富英豪,也有搅弄风云、结局未知的枭雄;
40多年间,这些大佬你方唱罢我登场,上演了一出又一出令人叹为观止、唏嘘不已的资本大戏。
而其背后的企业,就成了支撑其搅动风云的“砝码”。
但是大家要知道,没有永远的巨头,只有符合时代的企业! 原文地址:https://news.creaders.net/china/2024/10/27/2789600.html
石家庄第二看守所 (资料图) 河北省某看守所门前,一辆挂着地方牌照的车辆由远驶来停下。 突然,一位50多岁的妇女到车前不知说了什么,押车的民警和开车的司机均下车,该女人...
中央纪委国家监委网站26日公布全国查处违反中央八项规定精神问题情况月报数据。通报显示,2020年9月,全国共查处违反中央八项规定精神问题11929起,处理17314人(包括63名地厅级干部...
血色山谷 濒危动物上餐桌——一起命案牵出的买卖野生动物大案 缴获的野生动物被放归森林 2019年,四川凉山普格县警方破获系列重特大破坏野生动物资源案,100余人涉案,网络遍及全...
一个多月十余家公司疑似跑路,部分杠杆率超十倍 长租公寓连环“爆雷”深陷信用危机 赵乃育 绘 刚刚过去的国庆假期,成都市双流区的张晓朋一边忙着寻找出租房,一边密切关注着维...
本站讯 自古以来,就有官凭文书私凭印的说法,这既是一句俗语...
去看看>>
墙内消息,国庆突发事件:现任湖南省邵阳市人民政府党组成员...
去看看>>
尊敬的山东省及青岛市纪检、监察部门和各大媒体: 我们是程晓...
去看看>>
近日,曾经有着扎根行政管理、市场监管26年,有着全国普法宣...
去看看>>
多个消息来源显示,湖南邵阳市公安局在国殇日升旗时,内部发...
去看看>>
西藏精神领袖、尊者达赖喇嘛是否转世,以及转世到何处,一直...
去看看>>
石家庄第二看守所 (资料图) 河北省某看守所门前,一辆挂着...
去看看>>
从上周五晚间开始,中国大陆开始针对大陆基督教会展开严厉的...
去看看>>
中共成为“新邪恶轴心”的中坚力量 程翔评论文章: 近一年来...
去看看>>
吉林省司法厅副厅长林松涉嫌操纵市场监管厅法律顾问招标活动...
去看看>>